发布

微信登录

微信扫一扫,快速登录

合同管理流程-合同争议调解基本程序 - 工程文档 - 方钉文库 - 工程标准规范下载 - 工程师必备网站

文档

1946

关注

0

好评

0
DOC 合同管理流程-合同争议调解基本程序封面图 - 工程文档文档

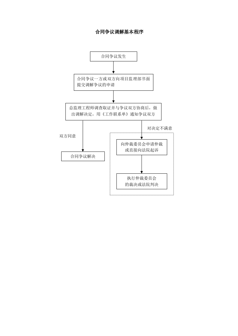
合同管理流程-合同争议调解基本程序

阅读 682 下载 0 大小 32.5K 总页数 0 2024-10-16 分享
价格:¥ 1.00
下载文档
/ 0
全屏查看
合同管理流程-合同争议调解基本程序
文档加载中
还有 0 页未读 ,您可以 继续阅读 或 下载文档
1、本文档共计 0 页,下载后文档不带水印,支持完整阅读内容或进行编辑。
2、当您付费下载文档后,您只拥有了使用权限,并不意味着购买了版权,文档只能用于自身使用,不得用于其他商业用途(如 [转卖]进行直接盈利或[编辑后售卖]进行间接盈利)。
3、本站所有内容均由合作方或网友上传,本站不对文档的完整性、权威性及其观点立场正确性做任何保证或承诺!文档内容仅供研究参考,付费前请自行鉴别。
4、如文档内容存在违规,或者侵犯商业秘密、侵犯著作权等,请点击“违规举报”。
文档评分
    请如实的对该文档进行评分
  • 0
发表评论
加载中
Copyright © 2001-2019 Comsenz Inc.  Powered by Discuz! X3.5  沪ICP备2021008143号-5